南通方圣石化设备有限公司主要开发生产S系列静态混合器、喷射器、减温器,VJG系列精细过滤器、SB系列泵用过滤器,以及消声器、视镜、阻火器、呼吸阀等九大类。
   静态混合器
   加热设备系列
   动态混合设备
   过滤设备
   纸浆专用设备
   SKL型浆氯静态混合器
   浆氯分配器
   LH型氯水分散混合器
   LQ-1468型液氯汽化器
   LYZ型氯气逆止罐
   LP型氯化喷射器
   胺液回收器
   KAGZ型高效组合在线胺液过滤装置
   新型高效石化净化/聚结分离装置
   预过滤器
   硫封器
   填料式管道自动补偿器
   高效有机蒸汽吸附装置
   KDPB型低压脉冲喷吹袋式除尘器
   KDPB390系列低压脉冲长袋除尘器
   KDPB390系列低压脉冲长袋除尘器
   KDPB970系列低压脉冲长袋除尘器
   管用专用小型设备
   油罐附件系列
   煤气管道排水器
 

 南通方圣石化设备有限公司
 地址:启东市汇龙镇台角工业园区
 邮编:226200
 电话:0513-83639880
 传真:0513-83639099
 在线咨询:
 微信:15851380122
 微信:15365547782
 http://www.ntfssh.com
 E-mail:fs@ntfssh.com

产品介绍 首页 >> 产品介绍
填料式管道自动补偿器
一、产品概述
  填料式管道自动补偿器是我公司采用国内外先进技术基础上自行开发研制而成的新型补偿装置,该产品由于其补偿量大,特别适用于长距离直线敷设的管网,它与传统的热力管道敷设的补偿器(方形、波纹形、球形)相比,具有体积小、补偿能力大、安装方便、密封性能可靠、使用寿命长、成本低等显著优点,而逐渐被各大厂家所使用,特别在电力、城市供暖、石油化工等行业具有广阔的应用前景。
二、技术指标
  最高工作温度:≤250℃ 公称压力:≤2.5MPa
  标准补偿量:-20~300mm 适用介质:热水、蒸汽、热油等
三、工作原理
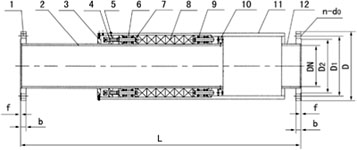
  填料自动管道伸缩补偿器(见结构图),它主要由伸缩管、密封盖、调压螺栓、弹簧、固定圈,导向块及壳体组成。使用时,可采用伸缩管及固定管端的法兰直接开始热胀或冷缩,可通过两侧的弹簧自动补偿填料的松动,使填料所需预压力,从而达到密封的目的。另外,考虑到介质进入管道时,冷热变化会产生压力波动,为防止补偿器会产生径向窜动,我们在补偿中设计特殊的导向环,导向环上又具有若干个平衡孔,以平衡介质的压力。
四、产品结构及连接尺寸
1、法兰 2、伸缩管 3、密封盖
4、调压螺栓 5、固定圈 6、弹簧
7、垫环 8、填料 9、弹簧
10、导向环 11、壳体 12、固定管
五、性能特点
  1、补偿量大,标准补偿量为-20~300mm,并可按用户需要设计。
  2、补偿器的伸缩管采用不锈钢制作,加以精磨工艺,不仅具有良好的防腐蚀能力,而且提高了表面的护磨损能力。
  3、管道的联接可采用法兰或直接对焊联接,结构紧凑,占用空间小,安装方便。
  4、精心设计的弹簧力是通过大量实验而得出的,因而具有密封性能优越,永不泄漏的优点。
  5、填料为我厂特殊研制开发的,能适用于高温高压的管道密封。
 
南通方圣石化设备有限公司 地址:启东市汇龙镇台角工业园区 邮编:226200 混合器|汽水混合器
电话:0513-83639880 传真:0513-83639099
点击这里给我发消息