南通方圣石化设备有限公司主要开发生产S系列静态混合器、喷射器、减温器,VJG系列精细过滤器、SB系列泵用过滤器,以及消声器、视镜、阻火器、呼吸阀等九大类。
   静态混合器
   蒸汽加热设备系列
   动态混合设备
   WZ型无重力粒子混合机
   RL型螺条式混合机
   DL型螺旋锥形混合机
   LS型螺旋输送机
   XF型星形出料阀(旋转加料器)
   ME型高剪切混合乳化机
   JF型搅拌釜
   YJ型可移动式轻型搅拌机
   GH型侧向伸入式搅拌机
   过滤设备
   纸浆专用设备
   管用专用小型设备
   油罐附件系列
   煤气管道排水器
 

 南通方圣石化设备有限公司
 地址:启东市汇龙镇台角工业园区
 邮编:226200
 电话:0513-83639880
 传真:0513-83639099
 在线咨询:
 微信:15851380122
 微信:15365547782
 http://www.ntfssh.com
 E-mail:fs@ntfssh.com

产品介绍 首页 >> 产品介绍
WZ型无重力粒子混合机
一、应用领域
  ● 农业领域:农药、化肥、饲料及各种添加剂生产中的混合。
  ● 食品工业:小麦粉、谷物的混合,奶粉的混合,香料和微量成份的混合,咖啡、味精、食盐的混合。
  ● 干燥:粉料的干燥。
  ● 化学工业:化学药品、化妆品、洗涤剂、涂料、树酯、玻璃硅、颜料的混合。
  ● 其它:药品生产、添加剂、塑料等行业的混合。
二、性能特点
  ● 该机通过两根等速反向旋转轴上特殊布置的桨叶,使物料作径向、环向、轴向三向运动,形成复合循环,在极短的时间内达到均匀混合。
  ● 可进行固(粉)-固(粉)(粉体粒度300-2000μm)混合。
  ● 根据用户要求,还可以另加喷液及夹套装置,使之可作为固(粉)-液(含液量<15%)的混合及干燥设备使用。
  ● 对比重、粒度等物性差异较大的物料混合时不产生偏折,而获得十分均匀的混合物。
  ● 混合精度,固-固混合在1:1000配比时,标准偏差为十万分之三~八,含量波动误差<2%(变异因子)。
  ● 混合速度快,一般粉体混合只需十分钟左右。
  ● 能耗低,是一般混合机的1/4~1/10。
  ● 可密闭操作,运转平衡可靠,维修方便。
  ● 手动、电动、气动出料方式供您选择。
三、工作原理
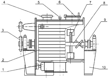
  本机由电机通过减速机、链轮带动二根平行的主轴以一定的转速作等速反向转动。以一定角度安装在主轴上的桨叶将物料抛洒到整个容器空间,使物料处于瞬间失重状态,广泛交错对流、扩散,从而达到均匀混合。对比重和粒径及形状差异悬殊的物料混合时不会产生偏析,是一种迅速高效的粉体混合设备。本机可按用户要求,增加夹套及分散棒,也可提供气动出料及喷液装置。接触物料部分材质为碳钢或不锈钢。
  1、电机及减速机 2、夹套 3、链轮 4、进料口 5、喷液装置
  6、人孔 7、桨叶 8、主轴 9、密封装置 10、出料阀
  ★注:标准型混合机不带夹套及喷液装置
四、技术参数
 ★说明:1、标准机型无夹套,无喷液装置,如需要,订货时须说明
     2、当物料比重ρ<0.6X103kg/m3 时,每次投料量ω=ρ物×V机×0.6(kg);
       当物料比重ρ≥0.6X103kg/m3 时,每次投料量ω=600×V机×0.6(kg)
 
南通方圣石化设备有限公司 地址:启东市汇龙镇台角工业园区 邮编:226200 混合器|汽水混合器
电话:0513-83639880 传真:0513-83639099